???? ?? ???? CSAP : SaaS ?? ???
?????? SaaS ??? ????? ???? ?? ???? ??????? CSAP?? ????. ?? ????? ??? ??? ??? ????? SW ??? SaaS ??? ???? ?? ??????? SaaS ??? ??/????? CSAP? ?? ???? ??? ???????.
???? ? CSAP ????? ?? ??? ???? ?? ??? ?? ????? ??????? ???.
- About CSAP?
- CSAP ???? ???
- ????? CSAP ?? ?? ????
1. About CSAP

CSAP? KISA ?????????? ???? ??? ???? ????. ??? ??? ??? ??? ?? ???? ??? ? ?? ???.
???? CSAP? ???? ???? ???? ???(??)? ???? ??? ????? ???? ??? ???? ????? ?? ???. ???? ??? IaaS, SaaS, DaaS? ??? ????? ?? 5????. ??? ?, ?, ? ???? ???, SaaS ??? ????? ?????? ????? ???? ??? ?? ??? ? ????? ? ??? ??? SaaS?? ???? ???? ???. (??? ??? ???????? ????? ??????)
2. CSAP ???? ???

???????? ??????? ??? ???? ???? ???? ????. ?? ??? ?? ??? ?? 100?? ??? ??? ????. ?? ???? ?? ?? ??? ??? ?? ?????? SaaS ??? ?? ?? ?? ? ???? ??? ?? ??? ????. ?? ?? ??? ?? ???? ?????? ???? ??? ?? ??? ?? ? ???? ???? ?? ???? ???.

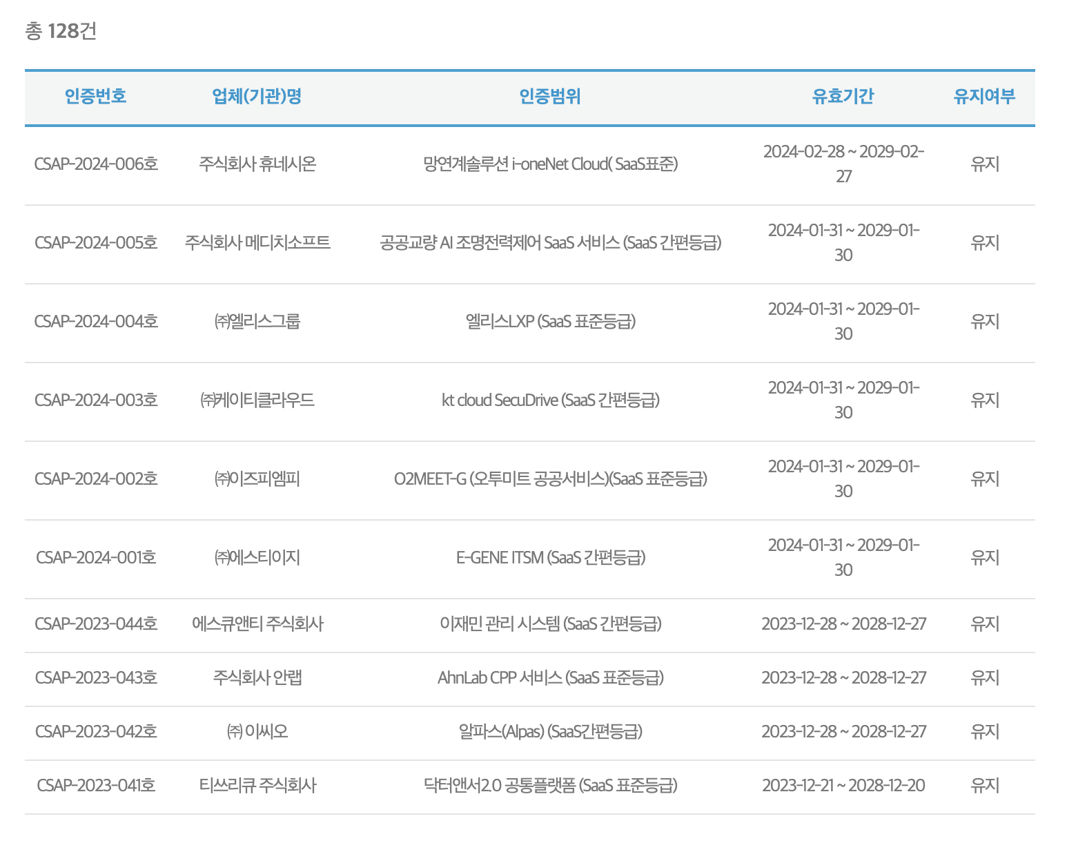
?? ??? ?? ? 128?? ?? ???? ????(???), ??? ?? ?? ?? ? ? ????. ??, ???? ????? ? ???? ???? ?? ? ??? ? ? ????.
?? ???? ??? ???? ?? ?? ??? ??? ???? ?? ?????? ?? ??? ??? ?? ?? ???? ?????. ?? ?? ????????? CSAP? ??? ???? ?????? DB? ??? ????? CSAP ?? ?? ???? ?? ??, ??, ??? ??, ?? ? ??? ??? ?? ???? ????.
3. ????? CSAP ?? ?? ????

??? ???? ???? CSAP ?? ?? ???? ? ????? ??? ???? ??? ??? ??? ???? ? ?? ???? ? ????. ??? ??? ?? ??? ?? ?????? ????.
? ?? ??? ?? ?? KISA?? CSAP? ??? ?? ??? ??????? ???? ????? ???? ??? ???? ????. ???? ?? ?? ?? ???? ??? ???? ???? ? ??? ?? ?? ???? ??? ?? ??? ??????? ?????.

답글 남기기